設計支援システムはデッキプレートの構造計算及び耐火認定の適合判定を自動で行います。設計条件を入力するだけで計算書や設計条件が反映された設計・施工標準仕様書が出力されるので、設計手間を削減できます。
日鉄デッキプレート×設計支援システムのメリット
- 床スラブ仕様の最適化複数仕様を同時に計算でき、最適仕様を比較検討可能。
- 設計手間の削減計算書は自動で計算され、確認申請にそのまま使用可能。
- 仕様書の自動反映設計条件が自動的に仕様書へ反映されるため、仕様書の選定・記入が不要。dxf形式で出力が可能。
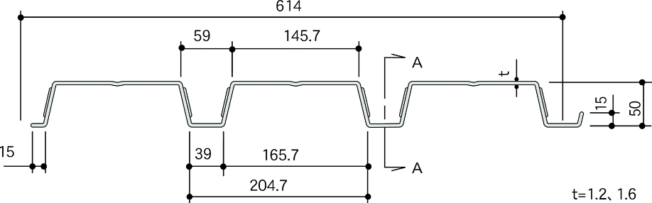
設計支援システムの対象となる合成スラブ用デッキプレート
| 種類 | 品名 | 板厚(mm) | 断面形状 |
|---|---|---|---|
| スーパーEデッキ | EZ50 EZ50-S |
1.0 | ![]() |
| 1.2 | |||
| 1.6 | |||
| EZ75 EZ75-S |
1.0 | ![]() |
|
| 1.2 | |||
| 1.6 | |||
| ハイパーデッキ | HYPER | 1.0 | ![]() |
| 1.2 | |||
| 1.6 | |||
| EVデッキ | EV50 | 1.2 | ![]() |
| 1.6 | |||
| サイノスデッキ | Cynos | 1.0 | ![]() |
| 1.2 | |||
| 1.6 |
※ 仕様書自動出力機能の対象となるデッキプレートは下記品種となります。
EZ50,EZ50-S,EZ75,EZ75-S,HYPER
※ 設計支援システムでは合成スラブ用デッキプレートの他、床型枠用デッキプレート・ルーフデッキもご利用可能です。
構造計算及び耐火認定の適合判定を自動で出力

日鉄デッキプレート設計支援システムを利用

計算書
構造計算結果および耐火認定の適合判定を表示
計算書はPDF出力でき、確認申請にそのまま使用可能

仕様書
入力した条件が自動で仕様書に反映
仕様書の選定・記入が不要

ProStructでは、既存のパッケージのみならず、そのパッケージを基にしたニーズに合わせた技術協力が可能です。
導入ご検討される際は、ぜひご相談ください。
「鋼材×利用技術」
パッケージ 一覧
ハイパービーム® × 横補剛材省略工法
ハイパービーム® × 梁端ウェブ補剛工法
ハイパービーム® × パス間温度緩和工法
ハイパービーム® × 梁端ストレート工法
ハイパービーム®・厚板・プレスコラム × 低温靭性保証(NSLT®)
HTUFF® × 高HAZ靱性鋼用溶接材料(大入熱溶接法)
コラム × 木質耐火被覆(木鉄ハイブリッド耐火柱)
日鉄デッキプレート × 設計支援システム
NDコア® × ノンダイアフラム工法 × 適合判定支援システム
NS-SSB® × 振り子免震技術
アンボンドブレース® × ブレース耐力・剛性の幅広い可変技術
アンボンドブレース® × エネルギー吸収の最大化技術







